Zuverlässige Positionierung in explosionsgefährdeten Umgebungen
Die Europäische Union hat sich für 2020 das Ziel von 20 Prozent sauberer Energie gesetzt. Diese 20 Prozent müssen aus erneuerbaren Energiequellen gewonnen werden. Dieses Ziel soll zum einen die Umwelt entlasten und zum anderen die Abhängigkeit vom Öl verringern. Die Einsatzgebiete von Erdöl sind jedoch vielfältig, so wird Erdöl nicht nur als Energieträger genutzt, sondern ist auch Ausgangsstoff für die Produktion in verschiedenen Branchen, z.B. der Kunststoffherstellung. Dies bedeutet, dass Öl auch in den nächsten Jahrzehnten einer der wichtigsten Rohstoffe sein wird, da die Nachfrage nach Energie und Rohstoffen steigt. Da die Nachfrage nach Öl höher ist, z. B. durch die Entdeckung neuer Ölquellen, und der Ölpreis sich auf einem sehr hohen Niveau befindet, ist die Förderung von schwer zugänglichen Ölfeldern, z. B. bei Tiefseebohrungen, lukrativ. Solche Bohrungen erfordern einen sehr hohen Automatisierungsgrad und höchste Sicherheitsvorkehrungen. Was passieren kann, zeigt u.a. Deepwater Horizon im Golf von Mexiko. Die hohe Explosionsgefahr ist in petrochemischen Anlagen allgegenwärtig. Jede dort installierte Komponente muss daher explosionsgeschützt zertifiziert sein, so auch der neue Drehgeber AX65 von Hengstler.
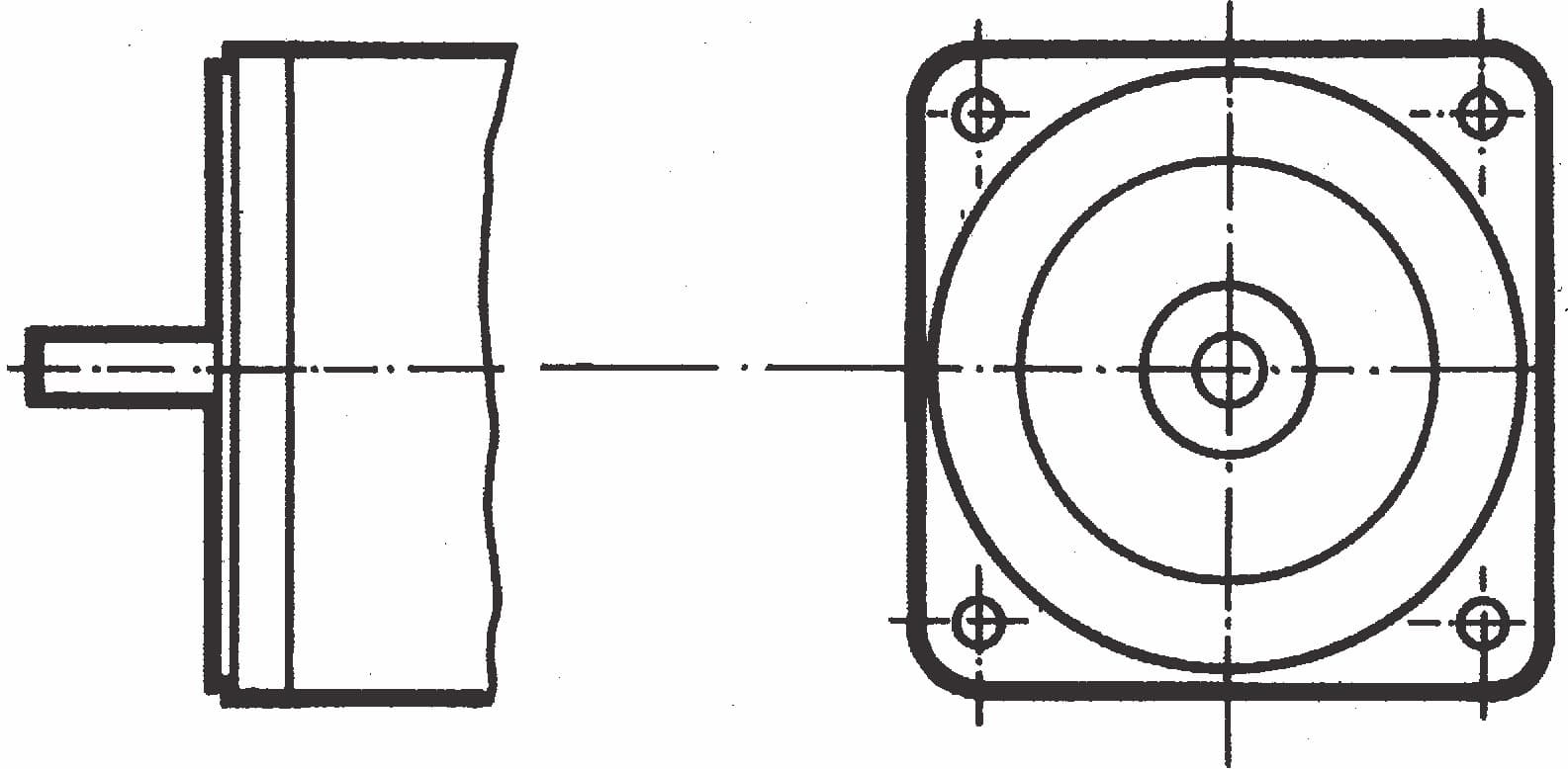
Explosionsgeschützter Drehgeber AX65
Explosionsgeschützter Drehgeber AX65
Seit vielen Jahren hat Hengstler in Zusammenarbeit mit seinen Kunden Erfahrungen und Know-how in der Entwicklung und Anwendung von Drehgebern in rauen Umgebungen gesammelt. Der neueste Zuwachs in der Familie der explosionsgeschützten Drehgeber ist der AX65. Er hat eine hohe IP-Schutzart (IP66 und IP67) und ist nach ATEX und IECex zertifiziert. Die Zertifizierung deckt die Bereiche Bergbau, Staub und Gas ab und ermöglicht den weltweiten Einsatz in einer Vielzahl von Anwendungen, z. B. auf Ölplattformen, in der chemischen Industrie oder im Tunnelbau.
Robust, flexibel und kompakt
Der AX65 verbindet die geforderte Robustheit aus der Schwerindustrie mit der Kompaktheit von Industriegebern. Eingebaut in ein kompaktes, korrosionsbeständiges 59-mm-Edelstahlgehäuse, hält er hohen Lagerbelastungen bis zu 300 N stand. Das bedeutet für den Anwender, dass er teilweise auf Schutzkäfige für den Drehgeber, die u. a. als Bügel verwendet werden, verzichten kann und somit Kosten spart. Mit seiner robusten magnetischen Abtastung und dem Einsatz eines verschleißfreien, energieautarken elektronischen Multiturns ist der AX65 äußerst zuverlässig und liefert auch nach einem Stromausfall immer die richtige Position. Der aufschraubbare und damit leicht abnehmbare Anschlussdeckel ermöglicht einen einfachen Zugang zu den Bedienelementen und der Klemmleiste. Über die Bedienelemente kann der Anwender z. B. die Baudrate und ID je nach Anwendung lokal einstellen. Darüber hinaus kann der Geber getrennt vom Kabel ausgetauscht werden. Dies ist ein großer Vorteil, da auf manchen Plattformen Drehgeber in 30-40 m hohen Anlagen montiert sind. Man kann sich vorstellen, dass 40 m lange Kabel sehr schwer sind und in Kabelkanälen verlegt werden müssen. Bisher musste das Kabel beim Austausch des Drehgebers komplett umverlegt werden, was auf hoher See eine echte Herausforderung sein kann. Die unabhängige Verlegung und der Austausch von Kabeln und Gebern hat nicht nur Sicherheitsvorteile im Servicefall, sondern spart auch entscheidende Kosten.
Anwendungen
Auf den heutigen Bohrplattformen werden die Top Drives - zu deutsch Kraftrevolver - eingesetzt. Als Ersatz für die mechanisch anspruchsvolleren Drehtellerantriebe auf den Offshore- und Onshore-Bohrinseln treibt ein Power Turret den Bohrstrang an. Die leistungsstarke Antriebsmaschine befindet sich während des Bohrens am oberen Ende des Bohrstrangs, daher der Name Top Drive. Um überhaupt mit dem Bohrgestänge bohren zu können, muss der Top Drive beweglich im Mast der Bohranlage montiert sein. In den meisten Fällen wird er über eine Riemenscheibe bewegt und gehalten, die vom Rigg der Bohranlage angetrieben wird. Eine zusätzliche Belastung beim Drehbohrverfahren ist die Übertragung der Hochdruckspülung in das angeschlossene Bohrgestänge. Außerdem muss der Top Drive in der Lage sein, die gesamte Masse des Bohrgestänges, die über 1000 Tonnen wiegen kann, mechanisch anzuheben und gleichzeitig zu drehen. Um den Top Drive zusammen mit dem Bohrgestänge präzise bewegen zu können, befinden sich am Seilzug mehrere Drehgeber vom Typ AX65 von Hengstler. Der AX65 misst den Hubweg des Top Drives, um eine Positionsrückmeldung in verschiedenen Achsen durchzuführen. Eine exakte Position wird z.B. beim Verbinden von Rohren unterschiedlicher Länge benötigt. Weiterhin misst der AX65 das Längenmaß in Kombination mit Seilen für den Verfahrweg des Top Drive. Zusätzlich zu allen Wegmessungen sind Berechnungen einer Gesamtlänge des Bohrstrangs von mehreren tausend Metern in der Tiefe möglich. Wenn der Bohrkopf verschlissen ist und ausgetauscht werden muss, wird der gesamte Bohrstrang hochgezogen. Dieser wird durch ein Rohr oder nach zwei oder drei Rohren, dem Bohrgestänge, entfernt. Der Bohrkopf hat die Aufgabe, das Gestänge zu drehen, die isolierten Rohre anzuheben und sie seitlich in Halterungen zu setzen. Wenn man bedenkt, dass ein einzelnes Bohrgestänge nur etwa 19 m lang ist, kann man sich ausrechnen, wie oft solche Vorgänge stattfinden müssen, bis der abgenutzte Bohrkopf aus 4000 Metern Tiefe freigelegt wird. Für solche Hebevorgänge sind große, ausfallsichere und leistungsstarke Elevatoren ein wichtiger Bestandteil jeder Bohranlage.
Hebeanlage auf einer Bohrinsel

Hebeanlage auf einer Bohrinsel
Der Aufzug kurbelt das Drahtseil der Umlenkrolle auf und ab, wodurch der obere Antrieb zusammen mit dem Bohrstrang bewegt wird. Außerdem kann der Aufzug zur Steuerung der Last auf dem Bohrmeißel verwendet werden. Hebezeuge unterscheiden sich vor allem in ihrer Leistung, dem nutzbaren Seildurchmesser, der Art der Kraftübertragung (Ketten- oder Zahnradgetriebe) und ihrer Betriebsart (Freifall- oder 4-Quadranten-Betrieb). Die Aufgabe der an die Aufzugsantriebe angeflanschten Drehgeber ist die exakte Positionsrückführung für die Verfahrwege, die sich aus diesen besonders schweren Bohrrevolverlasten und dem sehr langen Bohrstrang inklusive Bohrkrone ergeben. Um einen sicheren Betrieb des Verfahrens zu gewährleisten, muss der Drehgeber eine genaue, ausfallsichere Geschwindigkeitsrückmeldung für die Seilbewegung gewährleisten.
Extreme Anforderungen an die Plattform
Die extremen Bedingungen stellen eine Herausforderung für den Encoder dar. Hier sind die folgenden Highlights: der explosionsgefährdete Bereich, sowie raue Bedingungen wie Seewasser, Sturm, Eis und Schnee. Der Drehgeber muss mechanisch stabil gebaut sein, um den starken Stößen und Schlägen standzuhalten, die bei der Montage der Rohre auf einer Bohrplattform auftreten. Ein sicherer elektrischer Anschluss sowie die schnelle Inbetriebnahme des Drehgebers vor Ort helfen, Kosten und Zeit zu sparen. Jede Minute Ausfallzeit auf der Bohrinsel kostet Tausende von Dollar.
Die Lösung für solche extremen Anwendungen kommt von Hengstler:
Drehgeber AX65 in explosionsgeschützter Heavy-Duty-Ausführung
Mit dem Drehgeber AX65 bietet Hengstler die richtige Lösung sowohl für den Offshore-Einsatz auf Bohrinseln als auch in anderen explosionsgefährdeten Bereichen. Seine explosionsgeschützte Heavy-Duty-Version verfügt über eine hohe Schutzart bis zu IP67. Sein hochwertiges Edelstahlgehäuse macht den AX65 resistent gegen aggressives Seewasser. Da als Decoderscheibe kein Glas verwendet wird, sondern die Abtastung magnetisch erfolgt, ist der AX65 besonders robust gegenüber harten Stößen und Vibrationen. Die extrem robuste Konstruktion zeichnet sich durch den Einsatz von sehr leistungsfähigen Kugellagern aus. Die Lager nehmen axiale und radiale Kräfte bis zu 300 N auf. Der AX65 ist für eine Schockfestigkeit bis 200 g ausgelegt. Die Vibrationsfestigkeit wurde bis 20 g erfolgreich getestet. Mit Abmessungen von 70 mm und 59 mm Durchmesser ist der AX65 einer der kompaktesten Drehgeber seiner Klasse. Weitere Vorteile des AX65:
- einfache Installation im Feld
- leichter Zugang zum Bedienelement (DIP), das sich zusammen mit der Klemmleiste unter der verschraubten Edelstahlhaube befindet
- schnelle Installation bei Installation oder Wartung
- Auswahl des geeigneten Kabels vor Ort
- Im Servicefall können Sensor und Kabel separat ausgetauscht werden
Der AX65 ist mit den folgenden Busschnittstellen vorbereitet: SSI, CANopen und Profibus. Mit dem AX65 ist es Hengstler gelungen, einen Drehgeber für den explosionsgefährdeten Bereich anzubieten, der nicht nur die wichtigen und weltweit anerkannten ATEX- und IECex-Zertifizierungen erfüllt, sondern mit seiner robusten und kompakten Bauweise auch den Anforderungen im harten Einsatz standhält.
Verschleißfrei durch magnetische Abtastung
Der Drehgeber AX65 arbeitet mit magnetischer Abtastung sowohl für Single- als auch für Multiturn. Bei der Singleturn-Abtastung erkennt ein spezielles Hall-Element eine Auflösung von 12 Bit. Standardmäßig ist eine Multiturn-Auflösung von 12 und 16 Bit möglich. Zur Erfassung und Ausgabe der Umdrehungszahl ist der AX65 mit einem neuen elektronischen Multiturn ausgestattet. Dieser arbeitet völlig energieautark, berührungslos und ohne Getriebe und andere bewegliche Komponenten. Da keine Batterie verwendet wird, arbeitet der AX65 völlig autark.